歐洲空派專線(普貨/帶電/特貨)可走貨產品豐富,全程無憂!
日期:2022/11/28 13:28:37 / 來源:
如何更好地選擇歐洲電商物流渠道,
優(yōu)化物流方案顯得尤為重要。
恒盛通推出 歐洲空派普貨/帶電/特貨渠道
可接敏感、普貨、帶電帶磁性的貨物
滿足跨境賣家多樣化的物流需求
供您選擇
歐洲空派普貨:
通郵國家:歐洲25國(德國、法國、荷蘭、盧森堡、意大利、西班牙、丹麥、捷克、波蘭、克羅地亞、斯洛文尼亞、斯洛伐克、葡萄牙、瑞典、芬蘭、奧地利、匈牙利、保加利亞、立陶宛、愛沙尼亞、拉脫維亞、比利時、希臘、愛爾蘭、羅馬尼亞)
渠道時效:6-8個工作日提取;
可收寄地址:可接FBA地址,海外倉地址、商業(yè)地址加+1元/kg,私人住宅地址(非商業(yè)地址)附加費+2元/KG;
重量限制:單件實重不超30KG;單件材重不超25kg;
重量計算:長*寬*高/6000,單件不足11KG按11KG計費;
尺寸限制:最長邊不超120CM,第二長邊不超75CM;
5、有完整全程物流軌跡;
時效參考:整體時效7-10個工作日

時效參考,點擊放大查看
歐洲空派帶電:
通郵國家:德國、法國、意大利、西班牙、荷蘭、捷克、波蘭、盧森堡、丹麥、比利時、奧地利、愛沙尼亞、斯洛伐克、斯洛文尼亞、匈牙利、芬蘭、希臘、瑞典、立陶宛、葡萄牙、保加利亞、拉脫維亞、愛爾蘭
可收寄地址:FBA,海外倉,商業(yè)地址,私人地址;
重量限制:11-30KG;
重量計算:單件不足11KG按11KG計費 ;
尺寸限制:最長邊應小于100cm,第二長邊應小于76cm,且長+2*(寬+高)不應超過299cm;
渠道優(yōu)勢:
1、可接帶電帶磁產品;
2、服務國家多;
3、服務地址齊全;

時效參考,點擊放大查看
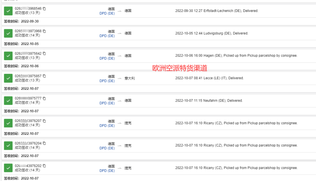
歐洲空派特貨:
通郵國家:德國、法國、西班牙、意大利、荷蘭、比利時、盧森堡、奧地利、捷克、斯洛伐克、匈牙利、羅馬尼亞、斯洛文尼亞、保加利亞、希臘、波蘭、丹麥、瑞典、愛爾蘭、葡萄牙、芬蘭、愛沙尼亞、拉脫維亞、立陶宛
可收寄地址:私人地址;
重量限制:12-29KG;
重量計算:不足12KG按12KG計費,單件不超29KG;
尺寸限制:長*寬*高 ≤120CM*60CM*60CM;
渠道優(yōu)勢:
1、可接敏感貨;

時效參考,點擊放大查看
恒盛通物流給跨境電商客戶提供更加安全,可靠的物流出貨,歡迎各位商家朋友前來砸單!
選擇恒盛通 物流更暢通
歐洲空派專線 歐洲空派 中國到歐洲空派專線
http://cnwangyue.com/news/business/225.html 歐洲空派專線(普貨/帶電/特貨)可走貨產品豐富,全程無憂!
推薦內容 Recommended
- 快遞轉運國外是什么意思(國際轉運…08-17
- 加拿大海運專線-整柜拼箱海運加拿…12-21
- 寄國際快遞最便宜和最快-全球快遞…08-13
- HST專業(yè)國際空運包板航線服務-覆蓋…07-21
- 往德國郵寄用什么快遞好?-專業(yè)快…11-25
- 2026年美國空派運費報價趨勢分析及…12-22
- 空運的“包板”是什么意思?12-27
- 國際快遞運費查詢-快速、準確的國…04-08
- DHL官方公布價如何查詢?一文看懂…09-29
- DHL國際快遞全球時效及查詢服務04-24
相關內容 Related
- 如何降低美國空運貨物的體積重成本…01-29
- 美國空派專線體積重如何計算?有何…01-29
- 快遞 vs 空派:如何選擇適合小批量…01-29
- 美國空派物流清關流程詳解-輕松完…01-29
- 美國空派物流服務-多點清關極速通…01-29
- 如何對比美國空派專線的時效與成本…01-28
- 美國空派專線價格解析-快速找到物…01-27
- 美國空派專線費用多少-如何選擇最…01-27
- 美國空派物流服務及收費標準-高效…01-20
- 深圳FBA頭程時效-選擇高效物流服務…01-17



